1. પરિચય
This instruction manual provides detailed guidance for the safe installation, proper operation, and routine maintenance of the NICOR 14011WH 4-inch White Recessed Retractable Wall Wash Trim. This product is designed to integrate with standard 4-inch recessed lighting housings and is compatible with MR16 bulbs up to 50 watts. Please read all instructions thoroughly before beginning installation or use.

છબી 1.1: આગળ view of the NICOR 14011WH Recessed Retractable Wall Wash Trim, showing the adjustable MR16 bulb housing.
2. સલામતી માહિતી
ચેતવણી: Risk of electric shock. Disconnect power at the fuse box or circuit breaker before installation or servicing. All electrical connections must be made in accordance with local codes, ordinances, or the National Electric Code (NEC). If you are unfamiliar with proper electrical wiring connections, consult a qualified electrician.
- Ensure the power supply is turned off before installation, removal, or maintenance.
- મહત્તમ વોટ કરતાં વધી જશો નહીંtage rating of 50 watts for the MR16 bulb.
- આ ઉત્પાદન માત્ર ઇન્ડોર ઉપયોગ માટે રચાયેલ છે.
- Handle the trim and bulb with care to prevent damage.
3. પેકેજ સામગ્રી
ઇન્સ્ટોલેશન શરૂ કરતા પહેલા ખાતરી કરો કે બધા ઘટકો હાજર છે:
- 1x NICOR 14011WH 4-inch Recessed Retractable Wall Wash Trim
- Tension Clips (pre-installed or included separately)
નોંધ: An MR16 bulb (up to 50-Watts) and a compatible 4-inch recessed housing are required for operation and are સમાવેલ નથી with this trim.
4. સ્પષ્ટીકરણો
| લક્ષણ | સ્પષ્ટીકરણ |
|---|---|
| મોડલ નંબર | 14011WH |
| ટ્રિમ કદ | 4 ઇંચ |
| રંગ | સફેદ |
| સામગ્રી | કોપર |
| બલ્બનો પ્રકાર | MR16 (શામેલ નથી) |
| મહત્તમ વોટtage | 50 વોટ્સ |
| Trim Diameter | 5 ઇંચ |
| Retractable Lens Aperture | 2 ઇંચ |
| માઉન્ટિંગ પ્રકાર | Recessed (Tension Clips) |
| ઉત્પાદન પરિમાણો | 5 x 5 x 3 ઇંચ |
| વસ્તુનું વજન | 6.4 ઔંસ |

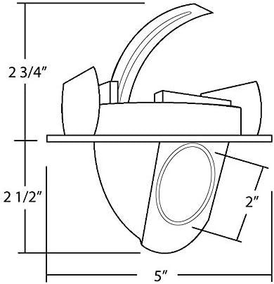
Image 4.1: Dimensional drawing of the 14011WH trim, indicating a 5-inch diameter and 2-inch aperture.
5. સેટઅપ અને ઇન્સ્ટોલેશન
Follow these steps for proper installation of the recessed trim:
- પાવર બંધ કરો: Before starting, ensure the power to the recessed housing circuit is turned off at the circuit breaker or fuse box.
- Prepare Housing: Ensure your existing recessed housing is a standard 4-inch size and is properly installed in the ceiling.
- Install MR16 Bulb: Carefully insert the MR16 bulb into the bi-pin base connected to the recessed housing. Ensure the bulb is seated firmly.
- Connect Trim: Align the trim with the recessed housing. The tension clips on the trim are designed to secure it within the housing.
- Secure Trim: Gently push the trim upwards into the recessed housing until the tension clips engage and hold the trim flush against the ceiling. Ensure there are no gaps.
- પાવર પુન Restસ્થાપિત કરો: Once the trim is securely installed, restore power to the circuit.

છબી ૪.૨: વિસ્ફોટ થયો view diagram illustrating the components (housing, bi-pin base, MR16 bulb, trim) and their assembly sequence for installation.
6. ઓપરેશન
Once installed and powered, the NICOR 14011WH trim functions like any standard recessed light. Use your wall switch to turn the light on or off.
The retractable design allows for directional lighting. The inner portion of the trim, which holds the MR16 bulb, can be adjusted to direct light towards a specific area, such as a wall or artwork. Gently pivot the inner housing to achieve the desired light angle.

છબી ૩.૪: કોણીય view of the 14011WH trim, demonstrating the adjustable inner housing for directional lighting.
7. જાળવણી
Regular maintenance ensures optimal performance and longevity of your trim.
- સફાઈ: Disconnect power before cleaning. Wipe the trim with a soft, dry, or slightly damp કાપડ. ઘર્ષક ક્લીનર્સ અથવા સોલવન્ટ્સનો ઉપયોગ કરશો નહીં, કારણ કે તે ફિનિશને નુકસાન પહોંચાડી શકે છે.
- બલ્બ રિપ્લેસમેન્ટ:
- સર્કિટ બ્રેકર પર ફિક્સ્ચરનો પાવર બંધ કરો.
- Allow the bulb to cool completely if it was recently in use.
- Gently pull down the trim slightly if needed, or carefully remove the old MR16 bulb from its bi-pin base.
- Insert the new MR16 bulb (up to 50-Watts) into the bi-pin base, ensuring it is securely seated.
- Push the trim back into the housing until it is flush with the ceiling.
- પાવર પુનઃસ્થાપિત કરો.
8. મુશ્કેલીનિવારણ
If you encounter issues with your NICOR 14011WH trim, refer to the following common problems and solutions:
| સમસ્યા | સંભવિત કારણ | ઉકેલ |
|---|---|---|
| પ્રકાશ ચાલુ થતો નથી. | No power to the fixture, faulty bulb, loose connection. | Check circuit breaker. Ensure bulb is correctly installed and not burnt out. Verify all electrical connections are secure (consult an electrician if unsure). |
| Bulb does not fit or sits at an angle. | Incorrect MR16 bulb size/shape, insufficient depth in housing for bulb and connector. | Ensure you are using a standard MR16 bulb. Some MR16 bulbs may have slightly different dimensions. Verify the recessed housing provides adequate depth for the bulb and its connector. If issues persist, consult the housing manufacturer's specifications or a qualified electrician. |
| Trim is not flush with the ceiling. | Tension clips not fully engaged, obstruction. | Gently push the trim firmly into the housing until the tension clips fully engage. Check for any obstructions preventing a flush fit. |
9. વોરંટી અને સપોર્ટ
The NICOR 14011WH Recessed Retractable Wall Wash Trim is protected by NICOR's 1 Year Limited Warranty. This warranty covers defects in materials and workmanship under normal use.
For warranty claims or technical support, please contact your retailer or the manufacturer directly. Keep your proof of purchase for warranty validation.





